Vital HCM
因應新制定之「紀念日及節日實施條例」,系統相關設定說明

立法院會於114年5月9日三讀通過「紀念日及節日實施條例」,增訂小年夜(農曆除夕前一日)、勞動節(5月1日)、教師節(9月28日)、臺灣光復暨金門古寧頭大捷紀念日(10月25日)及行憲紀念日(12月25日)計5個放假日,同時原住民之歲時祭儀放假日,從一天增加到三天。此實施條例已於114年5月28日總統府發布總統令施行(可參考https://www.president.gov.tw/Page/294/49867)。

 

因應「紀念日及節日實施條例」第4條及第6條規定,114年下半年將增加孔子誕辰紀念日(教師節)、臺灣光復暨金門古寧頭大捷紀念日及行憲紀念日等3個放假日。

考量114年度行事曆,已有客戶自行調整的狀況,Vital HCM本次不提供自動更新,請逕自參考人事行政總處最新公告的行事曆,依照以下步驟說明設定。

  1. 至【差勤管理>班表維護>行事曆假日轉入】,點選”下載”,查詢條件選取需調整的行事曆,日期為2025/09/01~2025/12/31,執行「下載」。

  1. 調整下載的檔案內容

新增09/29、10/24、12/25三天國定假日(此為參考,公司亦可與員工協商後決定)。若需依照人事行政總處公告之行事曆為主,請自行追蹤最新公告

注意事項:若新增國定假日的日期員工已有請假記錄,需請員工取消假單或管理者撤回假單。若員工於新增的國定假日當日已有請假、加班、排班鎖定等狀況,於下列步驟更新後,員工當日的班表不會調整為國定假日。

 

  1. 點選”上傳”,選取需調整的行事曆,「選擇檔案」挑選已調整好的檔案,執行「上傳」。


 

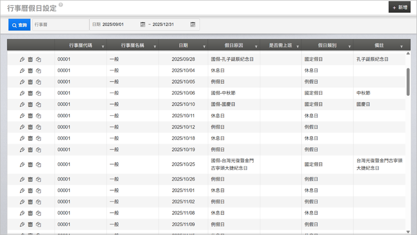
  1. 上傳成功後,至【差勤管理>班表維護>行事曆假日設定】,日期2025/09/01~2025/12/31,執行「查詢」後,檢查國定假日是否更新成功。

  1. 至【差勤管理>查詢列印>每日出勤明細】查詢非排班人員的出勤明細,確認新增的國定假日是否更新成功。

例如:9月29日,非排班人員的班別應顯示為國定假日。

 

***有排班員工請注意以下內容***

  1. 至【差勤管理>班表維護>各月排班排休天數設定表】檢查有無設定”國定假日”類別的天數,因應國定假日天數的新增,此處也應調整。

調整設定存檔後,請點選 + 圖示「產生人員排班排休天數」以更新員工各月排休天數的資訊。

  1. 至【差勤管理>班表維護>各月排班排休天數維護】確認員工的國定假日天數是否正確,若有特殊狀況,例如:特定員工的天數要挪移,可從此功能調整。

因應「紀念日及節日實施條例」第6條規定,原住民族歲時祭儀放假日,由原來一日增加為三日,可依其族別歲時祭儀期間擇定三日放假。114年度原住民族歲時祭儀放假日期,請參考原住民族委員會之公告
請依照以下步驟說明設定

  1. 至【差勤管理>假別可休管理>年度可請天數維護】,查詢條件假別先選擇歲時祭儀假,執行查詢
  1. 點選編輯,調整可請假天數/時數的欄位為3天,執行存檔。若需要依族別限制同仁可請假的日期範圍,則調整開始日期與結束日期欄位。

  1. 若筆數較多,建議至【差勤管理>假別可休管理>年度可請天數資料轉入】下載Excel,再批次上傳調整。

警告訊息提醒上傳資料會直接覆蓋。

  1. 批次上傳後,至【差勤管理>假別可休管理>年度可請天數維護】,查詢條件假別先選擇歲時祭儀假,執行查詢確認資料是否已調整。

 

立法院會於114年5月9日三讀通過「紀念日及節日實施條例」,增訂小年夜(農曆除夕前一日)、勞動節(5月1日)、教師節(9月28日)、臺灣光復暨金門古寧頭大捷紀念日(10月25日)及行憲紀念日(12月25日)計5個放假日,同時原住民之歲時祭儀放假日,從一天增加到三天。此實施條例已於114年5月28日總統府發布總統令施行。 因應「紀念日及節日實施條例」第4條及第6條規定,114年下半年將增加孔子誕辰紀念日(教師節)、臺灣光復暨金門古寧頭大捷紀念日及行憲紀念日等3個放假日。 考量114年度行事曆,已有客戶自行調整的狀況,Vital HCM本次不提供自動更新,請逕自參考人事行政總處最新公告的行事曆,依照FAQ步驟說明設定。
https://faq.vitalyun.com/TW/HCM#6438