Vital HCM系統版本更新說明_202408
版本更新日期:2024/08/14
系統更新項目
- 一、新增勞檢/驗廠專區快捷選單
- 二、超額加班設定
- 三、年度休假結算優化,新增法定時數結算設定
- 四、Mail 薪資單改善
- 五、薪資成本分攤計算優化,新增最新區段比例設定
- 六、非同步報表,操作流程改善
- 七、下個版本預計更新項目
- 八、Bugfix
一、新增勞檢/驗廠專區快捷選單
說明:
【HR管理平台】提供常用勞動檢查/驗廠相關功能之快捷選單,當遇到勞檢時可方便快速下載所需資料。
二、超額加班設定
注意:現有客戶預設關閉此功能,請確認您的需求是否適用,再聯繫顧問開放。
情境:實務上仍會有超額加班的情況,希望將超額加班費用轉為津貼項目進行發放,遇勞檢時可提供相對合規的出勤報表
【差勤結算參數設定 > 加班倍率】
【薪資項目設定】新增超額加班費用轉津貼的項目
【計薪規則設定】
【薪資獎金計算 > 差勤資料】結算出「應稅超額加班時數」


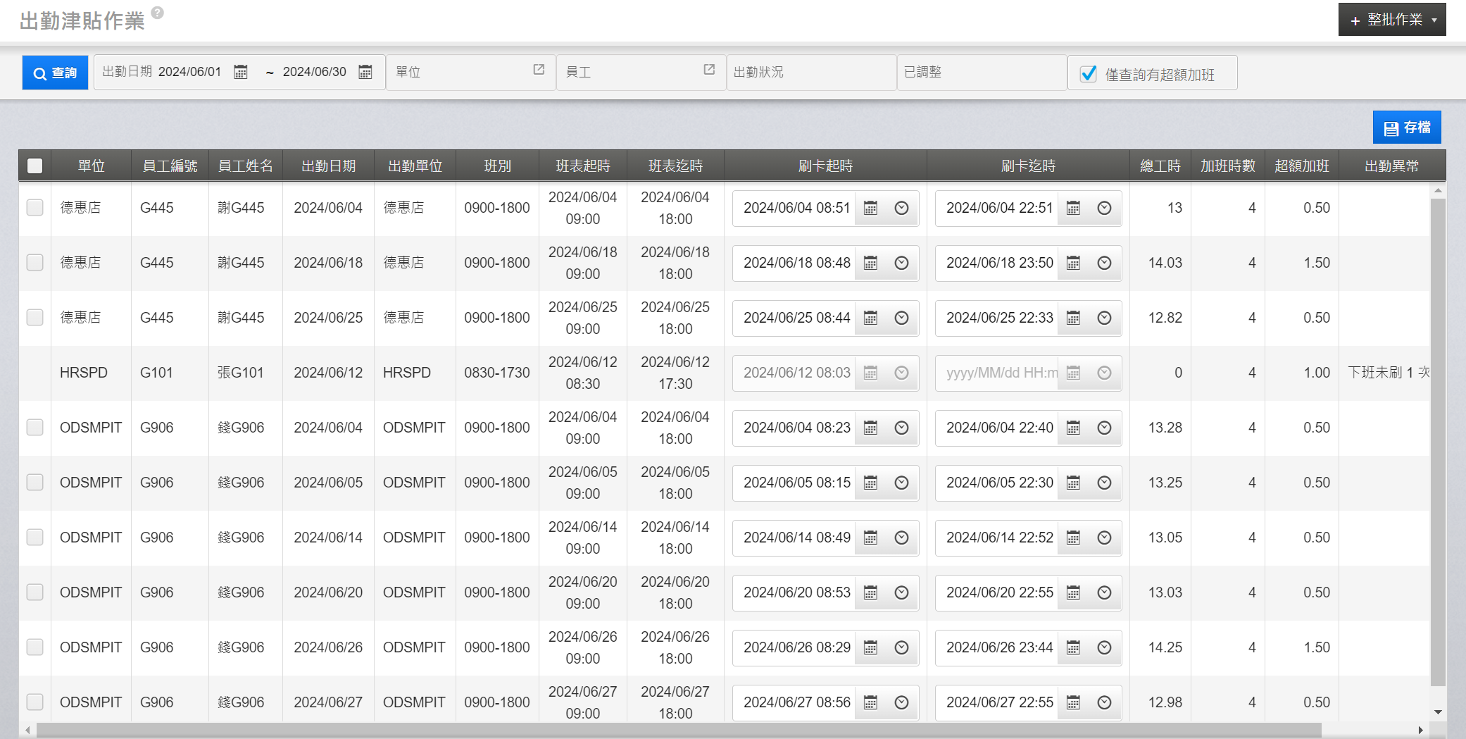
【出勤津貼作業】整批作業,下載範本,僅能調整刷卡起迄時間,再上傳


下載範本時,若有填寫「超額加班刷卡容許分鐘數」,範本下載提供建議時間
調整後的出勤明細,僅匯入調整後的刷卡起迄欄位
原始的【每日出勤明細】,會看到發生超額加班的時數 4.5 小時以及刷卡
出勤資料調整後,【每日出勤明細】僅能檢視合規範圍內的加班時數及刷卡
出勤資料調整後,僅供 HR 於後台【出勤明細】查詢未調整的原始出勤記錄
說明:
- 啟用超額加班設定以後,需先進行相關參數設定,包含:
- 差勤結算參數設定-加班倍率:調整既有加班倍率,增加「超額加班」為"是"的倍率資料
- 薪資項目設定:新增超額加班轉津貼需發放的薪資項目
- 計薪規則設定:新增「超額加班費」的計薪規則,每個加班倍率都要設定
- 此設定啟用後,不影響每月計薪作業的操作流程
- 出勤津貼作業:於刷卡資料檢核後,可整批下載範本,預設帶出建議時間,確認需調整的出勤資料後再上傳
- 調整刷卡起迄時間後,員工及主管查詢僅能檢視"調整後"的出勤,範圍包含:
- 每日出勤明細
- 個人桌面的今日出勤狀況、出缺勤資訊、排班表、異常刷卡統計
- 薪資單不會顯示超額加班時數
- 新增【出勤明細】功能,僅供 HR 於後台可查詢未調整的原始出勤記錄
三、年度休假結算優化,新增法定時數結算設定
情境:特休給假天數優於勞基法,於年度終結或契約終止時,希望僅結轉/折現法規內的休假天數,已休天數可設定先扣除法定或優給天數,使休假結算功能更有彈性。
【請假規定維護】新增設定選項

說明:
- 【請假規定維護】休假延休方式新增設定選項
- 法定天數依比例延休(已休優先扣除法定天數),不進入休假總數(需有延休假代碼)
- 法定天數依比例延休(已休優先扣除優給天數),不進入休假總數(需有延休假代碼)
- 【請假規定維護】留停離職剩餘休假結算方式新增設定選項
- 依法定未休天數折現(已休優先扣除法定天數)
- 依法定未休天數折現(已休優先扣除優給天數)
- 案例說明:
法令天數 優給天數 已休天數 休假延休方式 結算結果 7 10 1 已休優先扣除法定天數 法定 6 天 + 優給 3 天 7 10 1 已休優先扣除優給天數 法定 7 天 + 優給 2 天
四、Mail 薪資單改善
情境:每月計薪作業完成,於給付日期後,可由系統執行發送 mail 通知員工線上查閱薪資單
線上查閱薪資單,未到達給付日期當天,無法查詢。
薪資單網址的有效期限,從給付日後開始計算。
說明:
- 每月薪資給付日前完成計薪並寄出薪資單,員工於給付日前點選薪資單連結後,調整為提醒尚未開放查詢的訊息。
- 薪資單連結的有效期限 72 小時(預設),將從給付日後開始計算,超過 72 小時該連結即失效。
五、薪資成本分攤計算優化,新增最新區段比例設定
情境:原系統成本分攤方式依實際異動區間比例設定,遇追溯週期內成本中心已裁撤時,不符合實際需求,新增設定提供「依最新異動區間比例」項目,以最新的發薪主週期所對應之成本中心異動區間進行成本及扣繳分攤;亦針對保費項目提供「保費分攤計算方式」,並提供「最新週期保費計收日」之分攤方式設定,健保以最新週期月底日、勞保/勞退/職保則落到每日去做成本、扣繳分攤。
計算方式為「依最新異動區間比例」時,可設定「保費分攤計算方式」
說明:
- 依最新異動區間比例:不管項目追溯與否、不管項目所屬週期為何,皆以最新發放年月所屬成本/扣繳單位比例分攤
- 案例說明:
異動起日 異動迄日 成本中心及分攤比例 2023/01/01 2023/12/31 A-100% 2024/01/01 2024/02/29 B-100% 2024/03/01 2024/04/15 C-100% 2024/04/16 2024/04/30 D-50%、E-50% 依據上列成本中心異動歷程,分攤方式如下:
發薪描述 發放內容 分攤結果 2024/02 年終獎金 獎金週期 2023/01/01- 2023/12/31 B-100% 2024/04 月薪 當月薪資 本薪:C 50%、D 25%、E 25% 追溯 2024/03/21-03/31 前期薪資 前期本薪:C 50%、D 25%、E 25% 2024/04 當月保費 - 健保:D 50%、E 50%
- 勞保/職保/勞退:C 50%、D 25%、E 25%
追溯 2024/03 保費 - 健保: D 50%、E 50%
- 勞保/職保/勞退:C 50%、D 25%、E 25%
六、非同步報表,操作流程改善
針對部分系統操作功能不順暢的部分與客戶反饋,進行功能改善
前後台提供【非同步作業清單】快捷選項

下載報表後,右下角顯示已開始執行的通知訊息
作業完成後,於左下角、右下角顯示完成訊息
若下載報表無符合資料,右下角顯示「查無資料,請檢查篩選條件」訊息
可點選右下角訊息,開啟【非同步作業清單】檢視
可點選左下角訊息 i 圖示,直接檢視失敗原因
計薪流程作業中,點選右下角訊息可直接下載檔案,不需跳出計薪流程
【非同步作業清單】提供查詢條件,可調整查詢條件再重新下載
說明:
- 系統畫面左邊增加【非同步作業清單】快速連結
- 報表執行下載後,啟動通知訊息顯示已開始執行
- 報表執行完成後
- 若無符合資料,通知訊息可直接顯示
- 通知點選後可直接下載報表檔案或開啟【非同步作業清單】
- 非同步作業清單:增加可查看當時列印查詢條件
七、下個版本預計更新項目
- 待補附件改善
- 加班申請給付方式可由客戶設定預設為補休或加班費
- 所得申報提供檔案識別碼設定
八、Bugfix
- 表單批示及簽核,「調班申請單」描述新增顯示原因
- 年度可請天數維護及轉入,排除 00014-加班補休的假別
- 導入時轉入喪假的可休資料,於下一年度請喪假調整為以請假上限為主
- 個人基本資料修改身分證號後,同步更新薪資單預設密碼
- [單購差勤]離職人員請假剩餘天數結算,修正無法解除的問題
- 每月薪資清冊及總表,修正欄位標題有中英文混雜的範本
- 新增「富邦銀行」媒體轉帳格式
- 使用 LINE請 假,未產生待補附件資料問題修正
- 出勤異常檢核案例調整
- 於班表前後請假,出現異常早退
- 員工設定不檢核異常,休息日有加班出勤刷卡,每日出勤明細未顯示上下班時間