Vital HCM
Vital HCM系統版本更新說明_202301
系統更新項目
- 新增預計報到員工資料
- 法院強制執行扣薪設定,新增債權比例設定功能
- 新增人事薪資異動單、離職/留停申請單
- 加班申請表單流程設定改善
- Line&Portal新增今日出勤狀況查詢
- 每日出勤明細功能優化
- Bugfix
新增預計報到員工資料
整批上傳-下載履歷表範本

整批上傳
單筆新增-基本資料
單筆新增-職務
單筆新增-差勤
新增存檔後可再進明細頁編輯其它資料


執行轉入員工,後續可至【個人基本資料維護】查詢及維護
說明:
- 可提供履歷表給確定要報到的員工自行填寫,HR收集檔案回來後,填寫任用資料,再透過此功能整批上傳,以減少HR人工建檔作業
- 一位員工填一份檔案,可支援一次上傳多個檔案
- 請於員工報到當天再執行[轉入員工資料],若當天未報到員工可選擇刪除或封存資料
- 使用封存可用於之後查詢應報到但未報到的記錄,已封存亦可再解封存
- 上傳檢查
- 員編、帳號不得重複,避免相同的檔案重複上傳
- 欲轉入人員不得為現任在職員工,另離職後再回任員工仍可使用履歷表上傳
- 執行轉入員工後,後續可至【個人基本資料維護】查詢及維護
法院強制執行扣薪設定,新增債權比例設定功能

說明:
- 新增【是否自行設定債權比例】開關,當收到強制命令內容有指定債權比例時,可自行設定
- 非自行設定時,則於薪資計算時計算債權比例,計算後可至【法院扣款明細表】核對發放時的債權比例
新增人事薪資異動單、離職/留停申請單
表單流程設定







說明:
- 當員工有調部門、升等、薪調、離職或留停,可由主管送出申請單跑流程簽核,批示完成即可同步員工經歷異動檔,由HR進行後續作業程序
- 簽核流程可另外設定及區分異動承辦、薪資承辦、保險承辦,承辦的關卡均顯示完整的表單明細資訊,簽核時可調整部份欄位,如:生效日期、發文字號、發文日期;如欲調整異動後欄位,可退回申請人
- 人事或薪資異動可擇一填寫,均會顯示異動前後資訊
- 表單批示通過即生效,將同步寫入後台【人事異動維護】,若遇特殊狀況需取消表單,由主管通知HR協助撤回表單,並於後台功能手動刪除已同步的異動資料
- 其他事項
- 留停展延,由主管通知HR,由承辦至後台功能直接將原本的留停資料做展延,不需再送申請單
- 異動原因代碼,新增欄位註記要不要顯示於申請單畫面,可控管主管申請時允許選擇的代碼項目
- 檢查項目彙整
項目 人事薪資異動單 離職/留停申請單 異動員工不可填申請人自己,例:主管不可以申請自己的異動 

生效日只能填未來,需大於當天的系統日期 

填單+批示檢查:不可有相同生效日+異動原因 

批示過程可退回給申請人,申請人可調整異動後資訊再重新送出 

填單+批示檢查:不得有晚於生效日後的異動 
可設定關卡-異動承辦 

可設定關卡-薪資承辦 
可設定關卡-保險承辦 
- 執行轉入員工後,後續可至【個人基本資料維護】查詢及維護
加班申請表單流程設定改善
新增關卡規則設定
關卡規則設定
新增結案層級設定
結案層級設定
說明:
- 可依不同加班類別設定關卡規則,例:休息日加班需另外給HR會審
- 可依單位、人員別、職稱或是否擔任主管,決定結案層級,例:一般員工給直屬主管簽核,但單位主管需再往上簽一層
Line&Portal新增今日出勤狀況查詢
主管功能


LINE新增今日刷卡及今日出勤供使用者查詢
說明:
- Portal-新增今日出勤狀況,提供主管更快速的掌握轄下員工的刷卡及差假狀況,出勤異常可串連至【每日出勤明細】查詢,亦提供快速按鈕點選,查詢昨天、今日、明日的資料
- LINE-新增今日刷卡及出勤狀況,供使用者快速查詢當日的出勤記錄
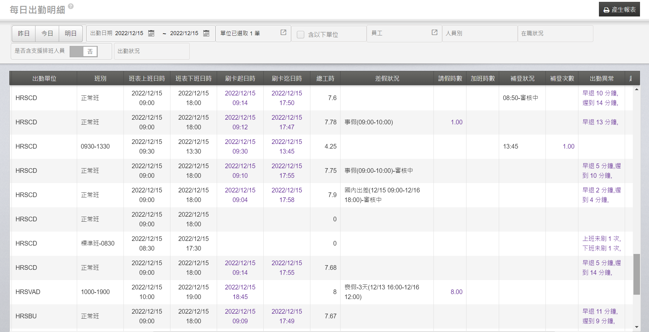
每日出勤明細功能優化


說明:
- 離退日後及留停中的資料不顯示
- 新增查詢按鈕:昨日、今日、明日,讓使用者更快速且直覺的查詢資料範圍
- 新增差假狀況、補登狀況,可快速掌握審核中的出差、請假及刷卡補登
Bugfix
- 修正年度各類所得明細表下載報表錯誤問題
- 特休結算需一併扣除併入計算的假相關問題修正
- 加班費給付方式設定,修改誤餐費給付方式,無法存檔
- 修正首頁widget版面未對齊問題
- 管理者表單狀態查詢效能調整
- 排班資料轉入檢查,異常訊息錯位問題修正
- 單位主管異動時,已結案表單批示意見歷程的預定批示者應顯示原主管
- 出勤異常檢核問題修正
- 早退異常出現0分鐘
- 早晚皆申請請假,檢核後無法更新班表的下班刷卡時間
- 整日請假申請補登(班表起時、加班迄時),檢核後班表未顯示上班刷卡時間
https://faq.vitalyun.com/TW/HCM#3803